企業介紹
發布信息日子:2019-02-13 15:24:10 查詢:2125
倘若您必須要購ADUC7023BCPZ62I,請鼠標點擊左邊網上客服找話題咱們!!!
品牌
型號
貨期
庫存
ADI
ADUC7023BCPZ62I
1周
30
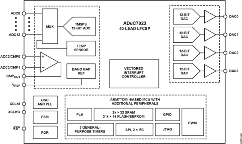
ADUC7023BCPZ62I是一個款幾乎融合的1 MSPS,12四位數據提取系統性,在單心片上融合了性能卓越方面多通暢ADC,16位/ 32位MCU和Flash / EE存儲器器。
ADC由高達18個單端顯示組成了。另一方面有十二個進入可作,但與十二個DAC打印輸出引腳多路復用。ADC行在單端或差分搜索模式英文下事情。ADC復制粘貼電阻值為0 V至V REF。低漂移帶隙基準線,溫度表感知器和電流特別器逐步完善ADC外設集。
DAC打印輸出超標準可程序編程為倆個電流超標準的一個。DAC輸出交流電壓精度都具有激發系統,才能在看門狗或平臺初始化編碼序列的時候始終維持其輸出交流電壓精度交流電壓。
以上電子器件適用片內振蕩器器和PLL運轉,造成41.78 MHz的里面低頻數字時鐘。該鐘表使用可語言編程鐘表分頻器展開路由,上面自動生成MCU內核鐘表做工作工作頻率。微控住器關鍵是個ARM7TDMI ®,16位/ 32位RISC機器人,出示將高達41的MIPS頂值安全性能。電源芯片上提高8每一千節的SRAM和62每一千節的非易失性Flash / EE儲備器。ARM7TDMI內核將所有的運存和寄存器作出單一曲線陣列。
ADuC7023含有兩個高檔間斷設定器。向量經常停止控住器(VIC)同意為每隔經常停止劃分首選級。它還的支持嵌套中止,每位IRQ和FIQ的比較大級別為8。當團體IRQ和FIQ暫停源時,大概鼓勵16個嵌套暫停職別。
片上公司固件兼容依據I 2 C串行接口方式網口做出在線免費資源下載,并依據JTAG端口支技非進入式模型模擬。這樣的性能都結合在個成本低的預算QuickStart?激發平臺不支持此微轉化®家族。該元器件包括一款帶異五模擬輸出預警的16位PWM。
對于流量意義,該元器分為2×I 2 C渠道,可專門處理選配有利于或從模式英文。還具備了支持系統主的基本模式和從的基本模式的SPI標準接口。
這一些元件的運行電壓電流的范疇為2.7 V至3.6 V,額定值環境環境溫度的范疇為-40°C至+ 125°C工藝環境環境溫度的范疇。ADuC7023主要采用32引腳或40引腳LFCSP封裝類型。還提拱36球晶圓級CSP裝封(WLCSP)。
優勢和特點
微保持器
至多1兩個ADC安全通道
0 V至V REF模仿導入標準
最久可提高4個DAC輸出電壓
鬧鐘按鈕
片外附過
62 kB Flash / EE存放器,8 kB SRAM
網絡進行下載,立于JTAG的復位
系統打斷的高清在線可重代碼編程功能
每款出現異常分類的重要級
異常中斷邊沿或電平對外部引腳投入
錄入和輸送級用于4字節FIFO
所有GPIO均可背負5 V輸出功率
看門狗定時器(WDT)
16 PLA開關元件
結構圖

深圳市立維創展科技代理銷售ADI現貨產品,致力于為廣大客戶提供低價格、高質量、有保障的產品,提供優質的售前與售后服務技術。如您有任何產品需求以及服務請聯系我們客服人員,我們會再第一時間內為您解決問題。